技術領域:
本發明涉及吊裝工具領域,尤其是涉及一種環形穿絲
吊裝帶的生產裝置。
【摘要】:
本發明提供了一種環形穿絲吊裝帶的生產裝置,屬于吊裝工具技術領域。它解決了現有的環形穿絲吊裝帶的生產裝置結構復雜、工作穩定性難以保證可控性較差的問題。本環形穿絲吊裝帶的生產裝置,它包括一塊固定板,在固定板上設有滾輪組,滾輪驅動裝置與其中至少一個滾輪相聯并可通過該滾輪帶動環形穿絲吊裝帶轉動,固定板的側部設有轉盤,在轉盤上設有放置線團的線架,轉盤具有一個供環形穿絲吊裝帶穿過轉盤中心的缺口,轉盤與環形穿絲吊裝帶轉動時可帶動轉盤上的各個線架繞環形穿絲吊裝帶轉動的轉盤驅動裝置相聯接。本環形穿絲吊裝帶的生產裝置具有結構簡單、易于操作使用,工作的穩定性好,生產效率高等優點。
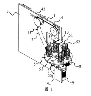
圖1環形穿吊裝帶的生產裝置立體圖。
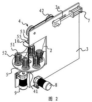
圖2環形穿吊裝帶的生產裝置的另一視角立體圖。
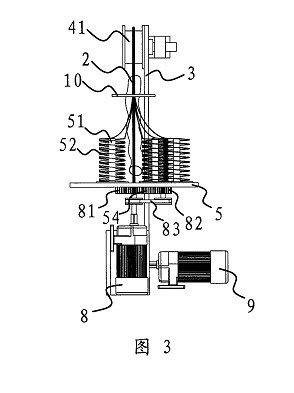
圖3環形穿吊裝帶的生產裝置的主視圖
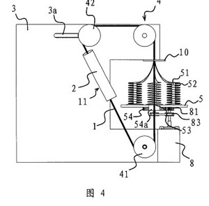
圖4環形穿吊裝帶的生產裝置的側視圖

【主權項】:
一種環形穿絲吊裝帶的生產裝置,它包括一塊固定板(3),在固定板(3)上設有用于撐開環形穿絲吊裝帶(11)的滾輪組(4),滾輪(41)驅動裝置與其中至少一個滾輪(41)相聯并可通過該滾輪(41)帶動環形絲吊裝帶(11)轉動,其特征在于,所述的固定板(3)的側部設有一個轉盤(5),在轉盤(5)上設有若干個用于放置線團(52)的線架(51),轉盤(5)具有一個供撐開在滾輪組(4)上的環形穿絲吊裝帶(11)進入并垂直穿過轉盤(5)中心的缺口(53),上述轉盤(5)與一個當撐開在滾輪(41)組(4)上的環形穿絲吊裝帶(11)轉動時可帶動轉盤(5)上的各個線架(51)繞環形穿絲吊裝帶(11)轉動的轉盤(5)驅動裝置相聯接,所述的轉盤(5)驅動裝置包括一個與電機一(8)相聯的主驅動齒輪(81),在轉盤(5)的底部中心設有一個與主驅動齒輪(81)相嚙合的轉動齒輪(54),轉動齒輪(54)具有與轉盤(5)上的缺口(53)上下對應的開(54a),在轉動齒輪(54)旁還設有一個副驅動齒輪(82),所述的副驅動齒輪(82)通過同步傳動帶(83)與主驅動齒輪(81)相連。